Sous un élégant design élancé, le poêle IG2 a été conçu comme une vraie chaudière à bois bûche. De la chambre de combustion les gaz de fumée sont augmentés avec l'air secondaire puis vont donner leur énergie dans un échangeur. Ce principe le rend efficace sans surchauffer la pièce où il est installé : 2,8 kW rayonnés + 5,2 kW pour le chauffage central.
Equipé d’un nettoyage mécanique de l'échangeur, d'une sécurité contre la surchauffe avec serpentin de décharge thermique, son hydraulique est gérée par une régulation qui englobe la gestion du recyclage et du tampon. L’air canalisable, les gaz et l’eau peuvent être raccordés à l’arrière ou verticalement : haut et bas. Rond, l’IG2 se distingue par sa verticalité : hauteur 170, diamètre 54.
Une large vitre laisse s'exprimer le spectacle du feu de bois. Odeur, chaleur et quelques petits crépitements accompagnent le reposant silence de fonctionnement.
Avec son système d'arrêt, la porte foyère reste grande ouverte lors du chargement de bois. A deux mains le feu est préparé : bois disposé en pyramide avec un allumeur au sommet.
Chambre sèche et isolée : pour garder une belle combustion. La t° des gaz est augmentée par l'ajout d'air secondaire chaud venant de l'arrière. De l'air tertiaire chaud balaye la vitre pour la maintenir propre.
Amenée d'air canalisable : pour prendre l'air en dehors du volume chauffé. Par l'arrière ou de façon invisible par le sol.
Réglage d'air : pendant l'allumage : à droite, en combustion : au centre et en fin de feu : fermé à gauche.
Option R-Thermatic : gestion électrique et automatique des volets d'air: toujours une bonne combustion !
Meilleur allumage : les fumées évitent l'échangeur : la cheminée chauffe plus vite et la vitre ne s'encrasse pas.
Par un petit orifice discret la manette du nettoyage est introduite et actionne le méchanisme. Le va et vien des turbulateurs nettoye les carneaux.
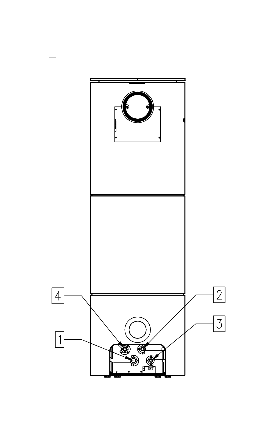
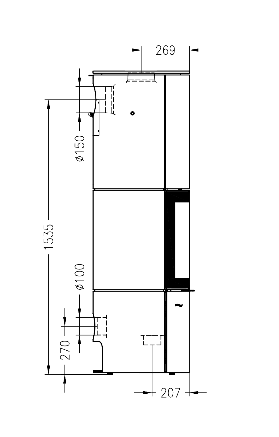
Raccords hydrauliques à raccorder par l'arrière ou invisibles par le sol. Buse de fumée par l'arrière ou par dessus.
Une soupape thermique, alimentée en eau froide, s'ouvre en cas de surchauffe. Alors, via un tuyau en cuivre, l'eau traverse et refroidit l'échangeur.
Selon les bâtiments, le poêle hydro IG est soit la source principale de chauffage, soit l'appoint d'une autre source d'énergie. Même dans une installation existante, l'IG2 se combine facilement avec une chaudière gaz ou mazout, ainsi qu'avec une PAC. En fonction du mode d'utilisation : en appoint ou intensif, le schéma hydraulique et le volume tampon vont varier.(voir infos ci-dessous)
La régulation HYDRO CONTROL surveille l'installation. Dès qu'il y a du feu dans le poêle, sa pompe est activée et envoie de l'énergie vers le tampon. Quand l'énergie bois est suffisante, l'hydraulique est automatiquement basculée et l'installation de chauffage utilise cette énergie. Si elle n'est plus suffisante, le système revient automatiquement à sa position de départ. Ainsi, l'hydraulique bois est isolée et ne consomme pas d'énergie. L'IG2 attend le prochain feu.

Le poêle IG peut être utilisé de plusieurs manières : la durée des feux peut varier et influence la conception de l'installation. Soit les feux seront occasionnels et/ou courts. Soit l'utlisation sera régulière en appoint : 3 à 4 heures par jour. Soit il y aura de très longues périodes de feu.
Pour fonctionner à sa puissance de 8 kW, un IG a besoin de 2,2 à 2,5 kg de bois / h .
Selon l'usage, la consommation de bois va varier. Par exemple, pour un poêle qui fonctionne durant 4h/jour et 200 jours/an, il faudra 2.000 kg de bois/an : soit 4 sters de bois feuillus.

A puissance nominale, un IG produit 3 kW rayonnés et 5 kW hydrauliques. Donc un IG produit de l'air chaud, mais encore plus d'eau chaude. Cette énergie hydraulique ne peut pas toujours être absorbée directement par le chauffage. Pour éviter les problèmes de surchauffe et savoir stocker ce surplus, un ballon tampon vient servir de batterie à énergie.
Pour déterminer le volume du tampon, le type d'installation et l'usage envisagé sont pris en compte. Attention : le tampon doit être dimensionné : un tampon trop grand ou trop petit est déconseillé !
Dans le tableau, voici quelques points de repère pour aider à déterminer ce volume tampon. Le volume minimum est pour un usage occasionnel. Un usage “normal” est en appoint : 3 à 5 heures de feu par jour. Usage intensif est au delà des 4 à 5 heures de feu par jour.
| Combustible | Bois bûche | |
| Puissance nominale | 8 | kW |
| Bois pour puissance nominale | 2,2 | kg / h |
| Puissance rayonnée (à puis. nom.) | 2,8 | kW |
| Puissance chauffage (à puis. nom.) | 5,2 | kW |
| Rendement | > 85 | % |
| Plage de puissance mix à max | 5,5 à 10,4 | kW |
| Contenance en eau | 29 | lit | T° retour mini | > 55 | °C |
| Volume d'air pour combustion min | 26,1 | m3 / h |
| Tube de fumée | 150 | Ø mm |
| Tirage cheminée | 0,12 | mbar |
| T° gaz de fumée | 180° | °C |
| Débit massique des gaz | 7,6 | g / s |
| Hauteur totale | 1702 | mm |
| Largeur totale | Ø 540 | mm |
| Profondeur totale | Ø 540 | mm |
| Porte : H x L | 625 x 462 | mm |
| Intérieur foyer : L x P | 328 x 310 | mm |
| Poids | 230 | kg |
| Certification | DIN EN | 13240 |
1 : départ chauffage 3/4''
2 : sortie décharge thermique 1/2''
3 : entrée soupape décharge 1/2''
4 : retour chauffage 3/4''
Distances mini de sécurité :
Mur droit non inflammable : 5 cm
Coin non inflammable : 15 cm de chaque mur.
Consultez la notice.